概要
| ガラス電極式のpH(JIS Z 8802 )、ORP、蛍光式DOセンサー、4電極式のECセンサーです。pH、ORPセンサーは大容量の基準液(電解質溶液 KCl)タンクを有しているので、KCl溶液無補充で、1~2年間、安定して使用できます。ただし、精度を保つためには、対象液に接している電極部の定期的な清掃と校正が必要になります。 電極の寿命は、対象溶液に依存するので、一概に言えませんが、清掃後でも感度が低下することや2点校正が不可能になる事などでわかります。 DOセンサーは、蛍光式で、センサーキャップを3年間に1回程度交換する方式です。比較的長期間の測定が可能です。 pH、ORPセンサーについては、ケーブル長30m以上の延長または、ノイズ環境に設置する場合、アンプ内蔵型を選択下さい。 検査機関による、校正書を付属する事も可能です(オプション)。 清掃・校正以外の保守は不要なので、以下のような応用例に適しています。 ・河川、湖沼などの水質測定 ・植物工場や、水耕栽培、農業液肥などの溶液管理 ・工場などの排水管理 注意) ・定期的な清掃、2点校正が必要です。 ・センサーは水没させて使用して下さい ・pH,ORPセンサーは鉛直方向に設置します。 Q&Aはこちら pH 、ORP |
センサー仕様
スクロールすることができます
| 測定対象 | pH 水素イオン濃度 |
ORP 酸化還元電位 |
DO 溶存酸素 |
EC 導電率 |
|
| 外観 | ![]() |
![]() |
|||
| 型 式 |
CWQ-PHM-KP CWQ-PHMA-KP(アンプ付き) |
CWQ-ORPM-1N CWQ-ORPMA-1N(アンプ付き) |
CWQ-DO | CWQ-ECH-KP | |
| 寿 命(* | 2-2.5年 | 2-2.5年 | センサキャップ交換頻度1年 | – | |
| 校正証明書 トレーサビリティ(option) |
○ | ○ | – | ○ | |
| 測定方式 | ガラス電極法 | 基準電極による方法 | 蛍光式 | 4電極法 | |
| 検知極 | ガラス特殊感応膜 | Ptφ5mm | – | チタン | |
| 測定レンジ | 0~14pH ( 2~13pH推奨 ) | ±1500mV | 0.00 ~20.00mg/L | 0.1~150mS/cm C=1.0 |
|
| 温度範囲 | 0~50℃ | 0~50℃ | 0~90℃ | ||
| 精 度 | ±0.03pH | – | ±0.1mg/L( 0~8mg/L), ±0.2mg/L(8~20mg/L) | ±5~10%以内 ケーブル30m以内 |
|
| 耐 圧 | 水深30m | 水深30m | 水深200m | 1MPa(約水深100m) | |
| リファレンスセル | ガラス電極(Ag/AgCl) | – | – | – | |
| 比較電極内部液 | KClゲル状 | – | – | ||
| 温度補償 | Pt1000(2線式) | – | Pt1000 (2線式) | ||
| 材 質 | 電極キャップ:ビニール ボディ:PVC 内部ガラス管:鉛フリーガラス |
ABS | ボディ:POM,PEEK | ||
| ケーブル | 特殊ケーブル 標準5m |
標準10m | 特殊ケーブル 標準5m |
||
| センサー部 大きさ |
標準モデル: 39φ x 195L mm |
44φ×203Lmm 850g |
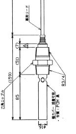
16φ x 159L mm | ||
| 寸 法 |
CWQ-PHM CWQ-ORPM |
![]() |
![]() |
||
| 円筒の設置方向 | 鉛直 | – | – | ||
| 校正周期 | 対象液・環境による 推奨1回/1ヶ月(* |
||||
| オプション アンプ内蔵型(Cable30m以上、ノイズ環境用) |
CWQ-PHMA-KP |
CWQ-ORPMA-1N |
交換用センサキャップ(3年毎交換)![]() 取付アダプタ |
– | |
スクロールすることができます
| 測定対象 | EC 導電率 |
| 外 観 | ![]() |
| 型 式 | CWQ-WIL-102-ECH |
| 対応センサ | CWQ-ECH |
| 測定レンジ | 20/200/500mS/cm 2/20/50S/m 海水換算濃度表示(0-4%) NaCl塩分換算濃度表示(0-20%) |
| 分解能 | 0.01/0.1/0.1mS /0.1℃ |
| 繰り返し性 | ±0.5%FS |
| 直線性 | ±0.5%FS |
| アナログ出力 | 伝送2出力 4~20mA/FS 4~20mA/0~100℃ |
| 負荷抵抗:550Ω 分解能 :1/20000 出力精度:±0.3%以内 出力選択:測定対象または温度 測定レンジは変更可能(ECのみ) |
|
| 接点出力 | なし |
| 校正機能 | – |
| 電源 | 消費電力 |
| 約8VA | |
| シリアル通信 | RS-485 9600/19200/38400BPS ASCII/ModbusRTU/ |
| 使用環境 | 0~50℃/35~85%RH |
| 取 付 | DINレール |
| 材 質 | ケース:難燃性樹脂 |
| 外形寸法/重量 | W30xH85xD110mm / 約200g |
校正セット
スクロールすることができます
| 品 名 | 校正セット | |||
| セットイメージ | ![]() ![]() ![]() ![]() |
|||
| 対象電極 | 型式 | 校正液、校正薬剤 推奨組合せ |
その他のセット品 | |
| pH電極向け | 2本校正セット | CWQ-CAL-PH-2 | pH1.68,4.01,6.86,9.18より2本選択 | 漬けこみ(2本)・廃液用(1本)ポリ瓶 500mL用 精製水 500mL(1本)、キムワイプ(1箱) |
| 酸性校正セット | CWQ-CAL-PH-2-1 | pH4.01、6.86 各500mL(1本ずつ) | ||
| 強酸性校正セット | CWQ-CAL-PH-2-2 | pH1.68、6.86 各500mL(1本ずつ) | ||
| アルカリ性校正セット | CWQ-CAL-PH-2-3 | pH9.18、6.86 各500mL(1本ずつ) | ||
| 強アルカリ性校正セット | CWQ-CAL-PH-2-4 | pH10.01、6.86 各500mL(1本ずつ) | ||
| 3本校正セット | CWQ-CAL-PH-3 | pH1.68,4.01,6.86,9.18より3本選択 | 漬けこみ(3本)・廃液用(1本)ポリ瓶 500mL用 精製水 500mL(1本)、キムワイプ(1箱) |
|
| 酸性アルカリ性校正セット | CWQ-CAL-PH-3-1 | pH4.01、6.86、9.18 各500mL(1本ずつ) | ||
| ORP電極向け校正セット | CWQ-CAL-ORP-5 | キンヒドロン粉末(5袋) | 漬けこみ(1本)・廃液用(1本)ポリ瓶 500mL用 精製水 500mL(2本)、キムワイプ(1箱) |
|
| キンヒドロン粉末(10袋) | ||||
| DOセンサ向け校正セット | CWQ-CAL-DO-25 | 亜硫酸ナトリウム 500g | 混合用(1本)・廃液用(1本)ポリ瓶 500mL用 精製水 500mL(2本)、キムワイプ(1箱) |
|
電流計測について
電流信号を出力する変換器には、4線式と2線式があります。
スクロールすることができます
| 4線式 | 2線式 |
![]() |
![]() |
| 4線式では、電源2線と信号2線が分かれています | 2線式では、供給電源の消費電流がそのまま電流信号(4~20mAなど)になります。 |
| ※ <注意>端子の並び方、呼び方は機種によって異なります。 | |
Q&A
スクロールすることができます
| pH電極関係 | |
| Q | A |
| 電極は水没できるの? | 無補充投込みタイプですので水没させて使用します。 耐水圧およびケーブル長にご注意ください。 |
| 内部溶液は補充はできる? | 無補充タイプですので出来ません。 |
| 設置の注意点は? | 必ず電極は立てた状態で設置してください。 先端の電極、ボディ部が割れる恐れがあります。 設置時など、ぶつけたりしないようご注意ください。 |
| 設置の方法は? | CWQ-PHM-KPにはジョイントが付いており、バルブソケット(25A)が付けられます。 これに塩ビパイプを取り付けてパイプをホールドしてください。 |
| 電極をどこまで液に浸ければいい? | 電極一体を浸けてください。 ボディ部が浸からない場合は温度が安定しません。 温度補償なしの場合は先端電極が浸かれば測定ができます。 |
| 内部溶液の成分は? | 3.3mol/L相当のKCl特殊加工粉末です。 |
| 基準電極側からの溶出部(液絡部)の材質は? | セラミックです。 |
| 液絡部(えきらくぶ)からの溶出成分は? | 内部溶液はKCl粉末と純水のみの特殊加工ジェルですので 流出成分はKClのみです。 |
| 交換時期(寿命)は? | 寿命に関しては、一概には言えません。 強アルカリ、強酸、高温サンプル、汚水であると劣化が速くなります。 特にフッ酸(HF)を含むサンプルではガラスが溶解されるため 寿命が短くなります。 目安として、水耕栽培での使用実績はCWQ-PHM-KPにおいて2年程度です。 |
| 内部溶液がなくなったら交換? | 内部溶液がなくなった場合は交換になりますが、上記期間内において 溶液がなくなることはほぼありません。 寿命はレファレンス極のAg/AgCl の極劣化等による標準液での校正ができない場合は 交換が必要です。 |
| 電極の保証期間は? | 寿命が使用環境により大きく変わることから、保証期間はありません。 |
| アンプ内蔵タイプとは? | 電極側に電池を搭載して信号を整流化して出力するノイズに強いタイプです。 ケーブルが長い場合にも有効なタイプです。。 電池寿命は設計上3年です。 pH値変動、汚損、破損等が無く1年以内で寿命が来た場合は交換します。 |
| ケーブル延長できるの? | ケーブル抵抗が変わることで、計測ができなくなりますので行わないでください。 必ず、ご注文時に必要な長さをご指定下さい。 |
| ケーブル短くできるの? | ケーブル抵抗が変わることで、計測ができなくなりますので行わないでください。 必ず、ご注文時に必要な長さをご指定下さい |
| ケーブルは何mまで付けられるの?(その1) | 標準30mまでです。精度よく測りたい場合、ノイズが多い環境の場合は ケーブル長を可能な限り短くすることを推奨します。 特に、温度補償有の場合は線抵抗による温度誤差があります。 |
| ケーブルは何mまで付けられるの?(その2) | アンプ内蔵タイプの場合は95mまでご用意できます。 |
| ケーブルを長くした時の注意は? | ケーブルが10m以上の場合は、線抵抗による温度誤差が大きく影響してきます。 恒温槽で既知の温度を作るなど、温度補正を行ってください。 |
| 電極の保管は? | ガラス電極を精製水で清掃した後、数日であれば精製水にガラス電極を浸してください。 基本的には、内部溶液と同等の3.3mol/L相当のKCL溶液に浸してください。 使用せずに保管している場合でも、電極の劣化は進行します。 ご購入後は、速やかにお使いいただけるようお願いします。 |
| 電極が乾燥したら? | ガラス電極を精製水で洗浄、pH標準液に半日から1日程度浸した後校正を行ってください。 一度乾燥すると、クラックが入り測定できなくなる場合がありますのでご注意ください。 |
| 応答時間はどのくらいですか? | 水質や劣化状況によって変化しますが、目安としまして夏場1分程度 冬場2分程度校正液の浸漬を行ってください。 温度補償対応電極の場合 温度上昇、低下後に温度域が落ち着いてから校正を掛ける事をお願いします。 |
| 設置水位が30mより長くケーブルの引張強度が 必要な場合は? |
ご相談ください。 |
| 電極交換を前提としてケーブル途中で 取外しできるようにしたいが可能か? |
コネクタ加工も承っておりますので、ご相談ください。 |
| 距離が長いので中継ボックスを途中に 入れたいが可能か? |
中継端子ボックスもご用意できますので、ご相談ください。 |
| 電極の破棄方法は? | 各地方自治体の指示に従い、産業廃棄物業者に提出してください。 なお、内部液の処理方法については、大量の水と一緒に廃棄してください。 分解された場合は、廃棄分類に基づき処理してくだい。 電極部 :「ガラス」として廃棄 内極 :「金属」として廃棄 手持ち部樹脂:「廃プラスチック」として廃棄 ご面倒な場合、弊社へお送りいただければ処分致します。 |
| 校正証明書およびトレーサビリティ体系図は? | 必要に応じまして、準備可能です。 |
スクロールすることができます
| ORP電極関係 | |
| Q | A |
| 電極は水没できるの? | 無補充投込みタイプですので水没させて使用します。 耐水圧およびケーブル長にご注意ください。 |
| 内部溶液は補充はできる? | 無補充タイプですので出来ません。 |
| 設置の注意点は? | 必ず電極は立てた状態で設置してください。 先端の電極、ボディ部が割れる恐れがあります。 設置時など、ぶつけたりしないようご注意ください。 |
| 設置の方法は? | CWQ-ORPMにはジョイントが付いており、バルブソケット(25A)が付けられます。 これに塩ビパイプを取り付けてパイプをホールドしてください。 |
| 電極をどこまで液に浸ければいい? | 電極一体を浸けてください。 ボディ部が浸からない場合は温度が安定しません。 温度補償なしの場合は先端電極が浸かれば測定ができます。 |
| 内部溶液の成分は? | 3.3mol/L相当のKCl特殊加工粉末です。 |
| 基準電極側からの溶出部(液絡部)の材質は? | セラミックです。 |
| 液絡部(えきらくぶ)からの溶出成分は? | 内部溶液はKCl粉末と純水のみの特殊加工ジェルですので 流出成分はKClのみです。 |
| 交換時期(寿命)は? | 寿命に関しては、一概には言えません。 強アルカリ、強酸、高温サンプル、汚水であると劣化が速くなります。 特にフッ酸(HF)を含むサンプルではガラスが溶解されるため 寿命が短くなります。 目安として、水耕栽培での使用実績は CWQ-ORPMにおいて2年程度です。 |
| 内部溶液がなくなったら交換? | 内部溶液がなくなった場合は交換になりますが、上記期間内において 溶液がなくなることはほぼありません。 寿命はレファレンス極のAg/AgCl の極劣化等による標準液での校正ができない場合は 交換が必要です。 |
| 電極の保証期間は? | 寿命が使用環境により大きく変わることから、保証期間はありません。 |
| アンプ内蔵タイプとは? | 電極側に電池を搭載して信号を整流化して出力するノイズに強いタイプです。 ケーブルが長い場合にも有効なタイプです。。 電池寿命は設計上3年です。 ORP値変動、汚損、破損等が無く1年以内で寿命が来た場合は交換します。 |
| ケーブル延長できるの? | ケーブル抵抗が変わることで、計測ができなくなりますので行わないでください。 必ず、ご注文時に必要な長さをご指定下さい。 |
| ケーブル短くできるの? | ケーブル抵抗が変わることで、計測ができなくなりますので行わないでください。 必ず、ご注文時に必要な長さをご指定下さい |
| ケーブルは何mまで付けられるの?(その1) | 標準30mまでです。精度よく測りたい場合、ノイズが多い環境の場合は ケーブル長を可能な限り短くすることを推奨します。 特に、温度補償有の場合は線抵抗による温度誤差があります。 |
| ケーブルは何mまで付けられるの?(その2) | アンプ内蔵タイプの場合は95mまでご用意できます。 |
| ケーブルを長くした時の注意は? | ケーブルが10m以上の場合は、線抵抗による温度誤差が大きく影響してきます。 恒温槽で既知の温度を作るなど、温度補正を行ってください。 |
| 電極の保管は? | ガラス電極を精製水で清掃した後、数日であれば精製水にガラス電極を浸してください。 基本的には、内部溶液と同等の3.3mol/L相当のKCL溶液に浸してください。 使用せずに保管している場合でも、電極の劣化は進行します。 ご購入後は、速やかにお使いいただけるようお願いします。 |
| 電極が乾燥したら? | ガラス電極を精製水で洗浄、pH標準液に半日から1日程度浸した後校正を行ってください。 一度乾燥すると、クラックが入り測定できなくなる場合がありますのでご注意ください。 |
| 応答時間はどのくらいですか? | 水質や劣化状況によって変化しますが、目安としまして夏場1分程度 冬場2分程度校正液の浸漬を行ってください。温度補償対応電極の場合 温度上昇、低下後に温度域が落ち着いてから校正を掛ける事をお願いします。 |
| 設置水位が30mより長くケーブルの引張強度が 必要な場合は? |
ご相談ください。 |
| 電極交換を前提としてケーブル途中で 取外しできるようにしたいが可能か? |
コネクタ加工も承っておりますので、ご相談ください。 |
| 距離が長いので中継ボックスを途中に 入れたいが可能か? |
中継端子ボックスもご用意できますので、ご相談ください。 |
| 電極の破棄方法は? | 各地方自治体の指示に従い、産業廃棄物業者に提出してください。 なお、内部液の処理方法については、大量の水と一緒に廃棄してください。 分解された場合は、廃棄分類に基づき処理してくだい。 電極部 :「ガラス」として廃棄 内極 :「金属」として廃棄 手持ち部樹脂:「廃プラスチック」として廃棄 ご面倒な場合、弊社へお送りいただければ処分致します。 |
| 校正証明書およびトレーサビリティ体系図は? | 必要に応じまして、準備可能です。 |
















